產品介紹
咨詢服務熱線:13957717877
產品概述
資料下載
相關產品
相關資訊


GYL9系列漏電斷路器產品特點:
1、雙匯流排接線功能。
2、具有漏電故障指示。
3、接線能力35mm2。
4、產品符合標準:IEC61008-1、GB16916.1。
GYL9系列漏電斷路器功能及應用:
1、功能:漏電保護。
2、應用:適用于工業、商業、高層和民用住宅等各種場合。

GYL9系列漏電斷路器型號及含義:

GYL9系列漏電斷路器面板指示:



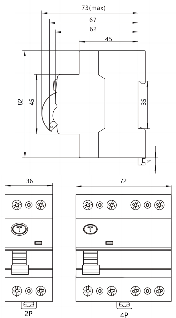
GYL9系列漏電斷路器產品尺寸:

GYL9系列漏電斷路器產品細節:


GYL9系列漏電斷路器技術參數:
剩余電流動作類型 | AC、A | ||
額定電流 | ln | A | 25、40、63、80、100 |
Poles | 2P、4P | ||
額定工作電壓 | Un | V | 240/415 |
額定絕緣電壓 | Ui | V | 500 |
工作頻率 | Hz | 50/60 | |
額定剩余動作電流 | l△n | mA | 30、100、300 |
額定沖擊耐受電壓 | Uimp | V | 4000 |
1分鐘介電耐壓 | V | 2000 | |
額定限制短路電流 | Inc | kA | 6、10 |
額定限制剩余短路電流 | l△C | kA | 6、10 |
額定接通和分斷能力 | lm | A | 500A(25A,40A),或10In(≥63A) |
額定剩余接通和分斷能力 | l△m | A | 500A(25A,40A),或10In(≥63A) |
GYL9系列漏電斷路器剩余漏電電流分斷時間:
| 額定電流In(A) | 額定剩余動作電流l△n(mA) | 剩余電流分斷時間(s) | ||
| l△n | 2l△n | 5l△n | ||
| 16、25、40、63 | 30、100、300 | 0.1 | 0.08 | 0.04 |
GYL9系列漏電斷路器不同漏電斷路器的應用:

GYL9系列漏電斷路器視頻演示:
上一個:GYL8系列漏電斷路器
下一個:GYL9-B型漏電斷路器
優惠券
我們的微信
13957717877
13957796089