產品介紹
咨詢服務熱線:13957717877
產品概述
資料下載
相關產品
相關資訊


SAFE-ESTOP型安全繼電器產品特點:
1、3個非延時安全觸點
2、1個非延時輔助觸點
3、連接:
3.1緊急停止按鈕
3.2機械安全開關
3.3非接觸式安全開關
3.4帶OSSD輸出的安全組件
4、控制:單通道或雙通道
5、用于外部接觸器或擴展模塊的反饋回路
6、輸出觸點的循環監控
7、LED電源和狀態指示燈
8、自動或手動啟動
9、短路監控和接地故障監控
10、高達PLe/SILCL3/類別4 (EN ISO 13849-1/EN 62061/EN 61508)
SAFE-ESTOP型安全繼電器產品功能:
安全繼電器SAFE-ESTOP用于根據EN60204-1,停止類別0監控安全電路,并可用于安
全類別高達類別4,PLe(ENISO 13849-1) 和SILCL 3 (EN 62061, EN 61508)的安全相關應
用。

SAFE-ESTOP型安全繼電器產品應用:
根據應用或根據EN ISO 13849-1的風險評估結果,設備必須按照圖1-10中所示進行接
線。
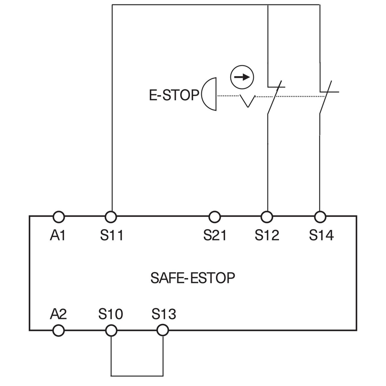
圖1:帶短路和接地故障監控的雙通道急停(PL e/SIL 3,類別 4)

圖2:帶接地故障監控的雙通道急停(PL d/SIL 2,類別3)

圖3:帶接地故障監控的單通道急停(PL c/SIL 1,類別1)

圖4:帶短路和接地故障監控的雙通道安全防護監控(PLe/SIL 3,類別4)

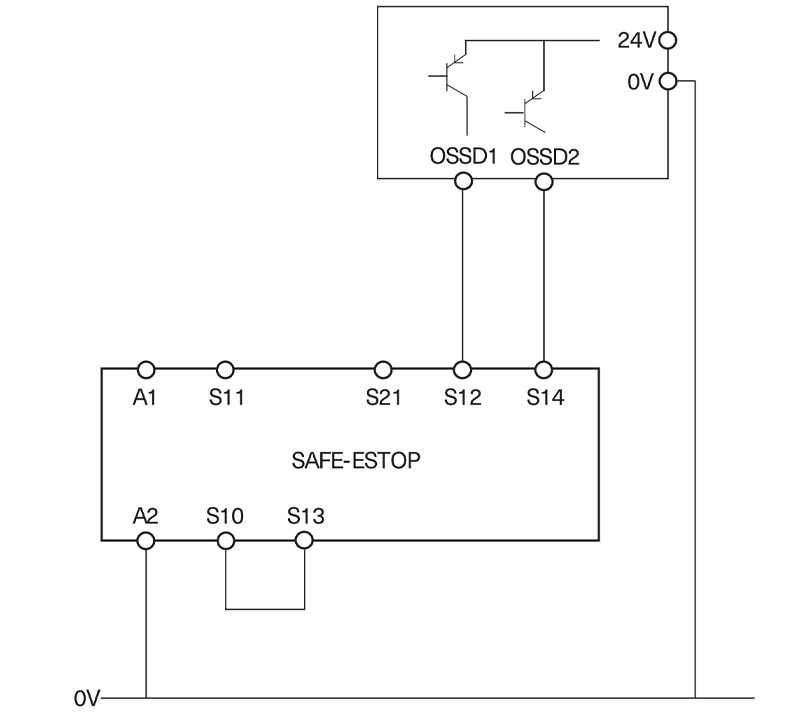
圖5:帶PNP輸出/OSSD輸出的雙通道急停,帶有自己的短路監控(PL e/SIL 3,類
別4)

先決條件:信號發生器滿足PL E/SIL 3的要求
圖6:連接到安全PLC ( PL e/SIL 3,類別 4)

先決條件:安全PLC輸出滿足所需的安全等級,并且可以排除PLC輸出和SAFE-ESTOP
之間的短路(例如,電氣安裝空間內的接線 – 參見EN ISO 13849-2,表 D4)。
對于根據圖5和圖6的應用 ,需要注意以下幾點:
信號發生器和SAFE-ESTOP的接地電位相同。
必須信號發生器發出的任何接通脈沖(光測試)不會導致安全繼電器的短暫激活,
因此應基本上被禁用。

SAFE-ESTOP型安全繼電器啟動行為:
圖7:監控手動啟動。監控啟動按鈕在安全開關閉合之前是否已打開

先決條件:電源不得中斷
圖8:自動啟動。閉合S12和S13/S14安全開關時的允許延遲

S12在S13/S14之前:200 ms
S13/S14在S12之前:無限制
警告:安全觸點將在通電時立即激活。
SAFE-ESTOP型安全繼電器反饋回路:
圖9:監控手動啟動的反饋回路。反饋回路監控接觸器或擴展模塊

圖10:自動啟動的反饋回路。反饋回路監控接觸器或擴展模塊


SAFE-ESTOP型安全繼電器技術參數:
| 符合標準 | EN 60204-1;EN IS013849-1;IEC 62061;IEC 61508第1-2和4-7部分 |
| 工作電壓 | DC 24V+/-10% |
| 功耗 | 2.6W |
| 浪涌電流 | 5A(約250μs |
| 脈沖抑制(A1/S12/S14) 關斷脈沖/暗測試 接通脈沖/光測試 | 3 ms(脈沖寬度)/500 ms(脈沖率) 1ms(脈沖寬度)/500 ms(脈沖率) 注意:必須信號發生器發出的任何接通脈沖(光測試)不會導致安全繼 電器的短暫激活,因此應基本上禁用。 |
| 安全觸點配置 | 3個非延遲安全觸點(NO) |
| 輔助觸點 | 1個非延遲輔助觸點(NC) |
| 開關電壓 | AC 250V |
| 安全觸點的觸點容量 (13-14,23-24,33-34) 6個開關周期/分鐘 | 阻性負載:AC250V/8A,2000VA AC-15:AC250V/3A 阻性負載:DC30V/8A,240W DC-13:DC24V/3A |
| 熱電流lth | 5A/觸點(參見總電流限制曲線) |
| 輔助觸點的觸點容量 | 阻性負載:AC250 V/2 A,500 VA 阻性負載:DC30 V/2 A,60W |
| 小接觸負載 | 5V,10 mA |
| 外部保險絲 | 10 A gG(NO);6A gG(NC) |
| 接通延遲 | <50 ms |
| 關斷延遲 | 通過A1:<40 ms;通過S12或S13/S14<20 ms |
| 恢復時間 | <500 ms |
| 線寬 | 0.14~2.5 mm2 |
| 緊固力矩(min./max.) | 0.5 Nm/0.6 Nm |
| 觸點材料 | AgSnO? |
| 機械壽命 | 1x107次 |
| 額定沖擊耐受電壓 | 2.5 kV(控制電壓/觸點) |
| 介電強度 | 4kV(DIN VDE 0110-1) |
| 額定絕緣電壓 | 250V |
| 污染等級/過電壓類別 | 2/3 (DIN VDE 0110-0) |
| 防護等級 | IP20 |
| 環境溫度范圍 | -15℃~+55 °℃ |
| 存儲溫度范圍 | -15℃~+85℃ |
| 海拔高度 | ≤2,000m |
| 重量 | 約150g |
| 根據EN 60715的安裝DIN導軌 | TH35 |
優惠券
我們的微信
13957717877
13957796089